Airbus quiere reducir tiempos de espera patentando aviones con cabinas desmontables.

Síguenos en las redes sociales y mantente siempre actualizado


Airbus se está haciendo un nombre patentando métodos para mejorar los ingresos de las aerolíneas, ya sea ideando filas de 11 pasajeros o poniendo a unos encima de los otros para que quepan más en el mismo espacio. Su nueva patente va en la misma dirección, aunque esta vez su objetivo es el de reducir el tiempo que tardan los pasajeros en subir y bajar del avión.
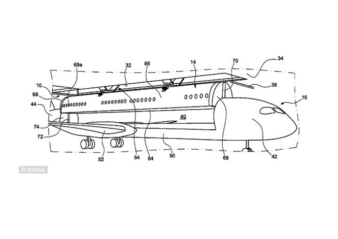
¿Pasillos más anchos? ¿Más puertas de salida? No, eso no hubiera sido lo suficientemente espectacular. Lo que ha patentado la empresa europea es una cabina desmontable, de manera que cuando la aeronave llegue al aeropuerto lo único que tendrá que hacer es extraer la que viene con sus pasajeros actuales y montar la que tiene a los que ya están esperando al próximo vuelo.
Un avión en tierra pierde dinero


A nadie le gusta esperar para coger un avión, y mucho menos cuando parte de la espera para embarcar depende de lo que tarden los viajeros del vuelo anterior en salir. A las compañías aeronáuticas estas esperas les gustan menos todavía, puesto que pierden dinero con cada minuto que el avión esté en tierra.
Es aquí donde entra en juego Airbus con sus cabinas desmontables. Están compuestas por la parte superior del fuselaje, la cual está unida al suelo de la cabina en la que iremos nosotros y nuestros equipajes de mano. La idea es que cuando llegue un avión ya estemos todos a bordo, para que lo único que tengan que hacer las aerolíneas es cambiar de cabina y volver a despegar estando el mínimo tiempo posible en tierra.
La patente no parece que vaya a cambiar demasiado nuestros tiempos de espera, pues entraremos y saldremos de forma parecida a la que lo hacemos ahora. Pero es una idea bastante ingeniosa para reducir el tiempo que pasa parado un avión, y mirándolo por el lado positivo, los empleados de las empresas tendrán más de tiempo para limpiar cada nueva cabina.
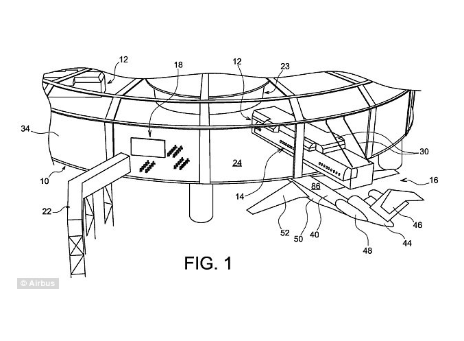
Pero claro, un sistema tan complejo requerirá también una nueva infraestructura. Por eso Airbus tampoco se ha olvidado de incluir dibujos que indican cómo deberían ser las estaciones de acople y los módulos encargados de extraer e insertar las cabinas. La patente fue presentada en 2013 y aprobada anoche por la Oficina de Patentes y Marcas de Estados Unidos.
Deja una respuesta

Tu dirección de correo electrónico no será publicada. Los campos obligatorios están marcados con *